Quality of Seating Provisioning for public parks, homes, and offices:
Why burden yourself with ownership and maintenance of furniture or other
material posessions when you can lease or rent our Reality Services?
We do all the work for you, and best of all, you only pay for what you use.
Our latest product is the patented Internet Chair, and its so easy to use.
Just follow these 3 simple steps:
1. Signup: Enroll in our program. Your thumb will be scanned and stored in
our database together with your photograph and digital signature.
Your seat is delivered upon approval shortly after signup.
Simply plug it into any AC outlet and telephone line.
2. Swipe: Slide your credit card through the slot on the seat.
You pay only for the amount of seating you actually use!
3. Sit: Simply seat yourself (TM).
What could be easier?
Ask about our site licenses, floating licenses, and wearable or implantable
license keys for all your home or office furnishings. Enroll now for a
floating license that travels with you worldwide, and enjoy the luxury of
Seating Services (TM) when you travel abroad. We also offer affordable
residential multiseat site licenses, great for friends and family.
W. Steve G. Mann, Fri Nov 24 00:51:05 EST 2000
Other related examples include pay TV broadcasts in which persons are irradiated with an encrypted signal, but are told not to try to listen to it or understand it.
Signals, information, and other ``property'' are disseminated widely, so that they clutter up the information landscape, clutter the spectrum, and possibly harm persons and the environment (by way of electromagnetic radiation, pollution, or the like), but the signals have been sabotaged in some way so that they will not be easily understood in a meaningful way without payment or agreement to certain terms and conditions.
A reality good or service may be a human made object such as a chair, dwelling, building, playground, or hiking trail, or it may be an entity that exists naturally such as silence, beauty, or the wonderfully fresh smell of the morning air by the seaside.
Human made goods and services like public parks, benches, pools, walkways, libraries, and gardens cost money to produce, and yet persons can often enjoy these facilities without providing due compensation. Although some facilities like public pools can be protected by high fences so that patrons must pay to use them, some continue to hop over the fences for free swims at night. Leaving the lights on all night is one solution (to increase the probability of capture and prosecution for such Theft of Services) but wastes a lot of electricity.
A better approach would be to make the environment unpleasant, but have the unpleasantness removable with a license. An electronic sabateur can accomplish this task. For example, a terrible screeching noise could be introduced by way of underwater speakers, so that the bathing experience would be unbearable, but otherwise undetectable since the sound would not carry in air.
Naturally occuring services like clean air, clean water, beautful forests, etc., also cost money to gentrify. For example, it required money and initiative for our ancestors to set sail for this country and then hand out contaminated blankets to the natives, or march them to their deaths, so why should we be able to enjoy this natural beauty for free?
Colonization of this country required a major investment, yet those who are part of the colony now enjoy the benefits without paying for them. Use of software, hardware, human-made objects, or nature without payment is theft, and must be stopped. It's just like listening to music without paying for it. It's simply wrong!
Without proper payment of royalties there would be no incentive for anyone to sing, write poetry, make furniture, or discover new countries. If musicians received only one payment for their music and then people just copied it, musicians would need to keep working and keep writing new songs in order to keep getting money.
Similarly, if a person could purchase a chair, or a copy of Matlab, and keep using it forever, there would only be a one time payment and use would be infinite.
Software such as Matlab, for example, starts up as follows:
bash$ date
Thu Nov 23 21:59:15 EST 2000
bash$ matlab
< M A T L A B (R) >
(c) Copyright 1984-96 The MathWorks, Inc.
All Rights Reserved
Version 5.0.0.4064
Nov 15 1996
----------------------------------------------------------
Your MATLAB license will expire in 39 days.
Please contact your system administrator or
The MathWorks to renew this license.
----------------------------------------------------------
To get started, type one of these commands: helpwin, helpdesk, or demo
Notice that the license expires if it is not renewed.
This ensures proper payment for services rendered, otherwise
a person could keep using Matlab for just one payment, and computer
programmers would starve to death in the steets because of
poverty.
The GNU Linux movement threatens the software industry because some programmers are giving away their programs for free, just like in the old days with musicians who sang their songs for free, while sitting around a campfire, never expecting to get any money or recognition for their work. The GNU Octave program, for example, does basically the same thing as Matlab, but costs 0$, and is also freesource (source code is included):
mann@conan:/raid/home/mann$ octave GNU Octave, version 2.0.16 (i386-pc-linux-gnu). Copyright (C) 1996, 1997, 1998, 1999, 2000 John W. Eaton. This is free software with ABSOLUTELY NO WARRANTY. For details, type `warranty'. octave:1>The sky is not falling, however, because although information wants to be free, and musicians will no longer be able to charge money for their music, there is still hope for the real world outside cyberspace.
The same modern technology that allows theft of software and the destruction of cyberspace by hackers and philanthropists can also hold the key to making the real world safe and profitable.
A key inventive concept is the Service Sabateur as a real and physical embodiment of Goods and Services protection, together with a remote license manager, and a method of doing business in reality. Reality is quite distinct from cyberspace, and refers to real objects such as tables, chairs, dwellings, earth, and the like, in the real world, as opposed to logarithm tables, committee chairs, home pages, and earth potential of zero volts, which are respective non--reality based examples. The Service Sabateur can help turn what would normally be a sale of a real tangible physical object, or its use, into a license. It can also make the world a better place by protecting tables, chairs, clocks, property, and nature itself, from theft.
From Quality of Service (QoS) Provisioning in public parks, to affordable housing, this invention can create a utopian world order that combines the best in free market thinking with government managed resources.

Naturally occurring services 111 refer to services that arise from human effort (such as seating provided by the chair a carpenter built, or a beautiful waterfall provided by Columbus' discovery of America that would not have been provided if not for its discovery), as well as services that are completely natural, such as the view of the stars in the sky. Thus no distinction is made regarding human making of the services. The term ``natural'' therefore refers to a service that would occur but for the sabateur 112. When a distinction is desired, it will be stated (e.g. ``human made services'').
Affordable services 110 are linked by way of a user friendly interface 120, to a user of the services. The user interface 120 is comprised of two parts: a service reception interface 121 intended as an interface by which a user can enjoy the service, and a license reception interface 122 in which a user can obtain permission to use the service.
Permission (license) may be in respect to payment of a sum of money, or it may merely be in respect of acceptance of terms and conditions, such as giving up privacy (e.g. disclosing identity), viewing an advertisement, or agreeing to be bound by certain Terms and Conditions.
For example, a service sabateur 112 might be a source of light pollution aimed at disruption of a view of the stars in the sky, whereas the license reception interface 122 may be associated merely with an agreement not to photograph the sky and share pictures with others, or an agreement not to describe the beauty of the sky to anyone else ever again. In this case, the license reception interface 122 may not necessarily include payment reception means, since it could simply be nothing more than a fingerprint scanner and signature tablet.
Alternatively the license reception interface may simply be for the process of fingerprinting a person, identifying them, or implanting a microchip into their body for future identification and tracking. For example, services may be provided simply to get people to be fingerprinted, implanted, or annotated, into the system, at a financial loss to the service provider, with the goal of longer term profits that are then passed along to the almighty consumer, since it is the customer who is always right. Therefore, an important aspect of the remote safety manager 130 is a database 132.

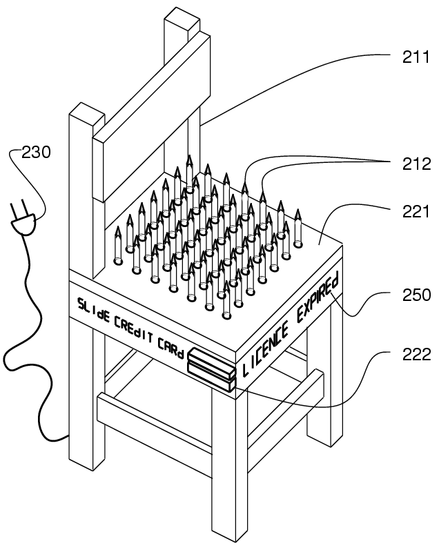
Fortunately, though, forty nine very sharp spikes 212 are sticking out of the seat 221 of seating 211. This helps to sabotage the service reception interface which is the seat 221, by degrading the quality (comfort) of the seating service of seating 211.
To purchase a one seat license, a user of the chair simply plugs it into the Internet by way of electrical connection 230, which also provides power. A display 250 comes alive, and displays a message to ``SLIDE CREDIT CARd'' into card reader 222 to purchase a seating license. Once a seat is purchased, four solenoids, one for each corner of the matrix of 7 by 7 spikes, retract all 49 spikes down into the base of the seat 221. The base of the seat 221 is preferably large and hollow for this purpose, and so that it can also house a small computer system that runs the license manager software.
The display 250 can also show messages such as
< S E A T W A R E (R) >
(c) Copyright 1982-99 The SeatWorks, Inc.
All Rights Reserved
Version 1.0.0.4096
Nov 15 1996
----------------------------------------------------------
Your SEATING license will expire in 39 minutes.
Please contact your system administrator or
The SeatWorks to renew this license.
----------------------------------------------------------
To get started, simply seat yourself.
One method of doing business with affordable seating includes the steps of:
Quality of Service provisioning refers to providing increases in seating quality, such as by retraction of spikes 212. Provisioning refers to the providing of services, such as seating services. Thus the seat is said to be ``provisioned'' when the spikes are retracted. Provisioning thus refers to providing of the service.

In order to prevent Theft of Service, a keypad 322 is provided so that persons wishing to purchase the time can enter their credit card numbers into keypad 322. Additionally, keypad 322 is comprised of twelve holographic optical elements rather than mechanical switches. These elements image, by way of total internal reflection, the fingerprints of anyone pressing any of the keys. When a fingerprint is detected on any of fingerprint scanners 322F it is registered as a keypress for that particular key. Thus if a finger is pressed against number five, the fingprint is scanned by scanner number five, and a five is entered in an input register. When a complete number is entered, a transaction is processed, by way of transmitter 330 which sends the transaction information to a remote transaction server for authorizing the remote safety server 130 with license server 131 to send back a license signal. The license signal in turn, energizes, through cable 312, the shutter solenoid, so that shutter 312 opens to reveal the purchased time.
Sign 350 provides usage instructions.
There are some obvious dangers with the system. For example, if one person purchases the time, others might take a peek and see the time as well. Therefore a camera 360 in the clock constantly searches for time theives. The camera 360 sends pictures back to the remote license server 131, and the safety manager 130, which has a machine vision algorithm that detects viewers by way of a Radon Transform tuned to look for eyes of extra viewers. If it sees more than one person looking at the clock, it tables the opening of shutter 312 until such time as time can be disclosed only to the person making the purchase.
There is the danger that a person could purchase time and deliberately tell someone else the time of day. This danger is mitigated by the fact that time becomes stale, and after a short time, the time is no longer up to date, so a time thief would be walking around telling everyone it's ten after ten, midnight or the next day, but telling someone at midnight that it's ten after ten is not such a bad thing, because it's simply wrong in both senses of the world (incorrect and morally wrong to steal time).
However, serious time thieves may use portable timekeeping devices in their nefarious deeds. Thus there is the danger that a person could purchase the time and use this purchased product (timeware) to set his or her own timepiece. Thus with a portable wristwatch time theives could steal copies of the time as a free running variable.
Accordingly, time is preferably only be sold under certain Terms and Conditions 351 so that a person purchasing the time agrees to certain conditions such as never using the product to set his or her own timepiece. Thus serious time theives could be properly prosecuted and sent to jail where they could ``do time''.
Capture of time theives is aided by the concomitant fingerprint scanners. Since most people do not know that the pushbuttons are really fingerprint scanners, they will inadvertently press these buttons and be fingerprinted without knowing it. Camera 360 is also covertly concealed in the clock, so that everyone purchasing Time Services will be secretly photographed and fingerprinted.

Homeless persons can trade their privacy and autonomy for housing in which they become experimental subjects of various monitoring devices, or in which they view advertisements in their houses, or agree to consume only certain products, or to abide by brand loyalties. Additionally, these homes may be provided with certain safety features, such as a magnetic lock 490 that prevents occupants from leaving the home without meeting certain conditions, such as safety and sobriety.
For example, children can be prevented from running out into the yard where they would otherwise be injured by unlicensed earth 411. Safety is very important, so it is by way of the safety interlock that danger is prevented.
A nice clear glass door provides a magnificent view of nature, trees, forest, and the earth 411, while protecting occupantes from going outside until they have licensed earth 411. Earth 411 is protected by land mines 412 that have wireless Internet connection. A credit card is inserted into reader 422 in the door frame, as per instructions 451. The reader forms part of license reception interface 122 which sends to license server 131. When a license is purchased or agreed upon, the land mines 412, which comprise service sabateur 112, are wirelessly deactivated.
Safety is of the utmost concern, because the lives and safety of young children playing in the earth is at stake. Therefore, only after each and every land mine on the fenced in property sends back a confirmation signal, does magnetic lock 490 release, allowing the door to open by pressing on handle 421.
Depending on how much time is purchased, or agreed upon, an alarm will sound prior to expiry of the yard privileges, so that everyone can get back inside before the land mines are re-activated.
Moreover for safety, land mines are de-activated by fire alarm, so that in case of fire, occupants can go outside without risking death or injury.
Yard privileges may be granted for a fee, or for free. Yard priviliges may also be given free of charge to all those in good standing.

The images always play but are made blurry by a PVDF shutter 512, so that people looking at the TV set always see television raster 521 behind a blurry frosted glass of PVDF shutter 512. The shutter is made clear and transparent by pressing any of the fingerprint scanners 522F.
The material displayed on the TV set is preferably a movie or personal account, EyeTap experience, lifelong documentary, 511, or the like, so that persons wanting to see into the private life depicted in the movie can only do so by giving up their privacy by way of being fingerprinted.
A comparison threshold makes sure that a valid fingerprint is entered on control console 522, so that a person cannot simply press a piece of paper or cloth or the like against fingerprint scanners 522F and get a clear unfrosted view of the television image without being fingerprinted.
Fingerprints are sent by way of link 530 to remote safety server 130. Thus PVDF shutter 512 takes the role of service sabateur 112, and being fingerprinted takes the role of license reception inteface 122.
Additionally, the television has a camera 560 that watches the people who watch it. Thus part of license reception interface 122 can be included in the imaging capability by images sent from camera 560 to remote safety server 130.

The license-free sound effects 612 are selected randomly, so that in the absense of a license, various sound effects are randomly emitted from the juke box, with the current selection 612S highlighted.
Payment or other form of agreement (such as viewing an advertisement, or being fingerprinted) can stop the sound effects to silence 611, or switch to another selection 621 for a short period of time.
Control panel 622 comprises two fingerprint scanners that allow a person to scroll up or down in the selection window. Fingerprints are sent to remote safety server 130 by way of link 630. Panel 622 may also include a signature tablet. Silence may be purchased in respect of payment, or it may be granted by petition or by agreement to certain terms, or simply by willingness to abide by certain simple rules.
The invention need not be limited by sound, e.g. bursts of light, various smells, or various chemical effluents may replace the sounds produced by the device.
The apparatus of this invention allows for affordable Quality of Experience Provisioning of public parks, dwellings, and other environments in the real world, and combines the best of cyberspace with the wonders of the natural world in which we live.